康复医学/电疗法

来自医学百科

应用各种电流或电磁场预防和治疗疾病电疗法。电疗法包括直流电及直流电离子导入疗法低频电疗法中频电疗法高频电疗法等。

电疗法特点:

1.各种电疗因子因其性质不同,其作用机理也各有特性。例如:直流电对组织细胞内的电离、极化,驻极状态等的影响较显着,而高频电疗时,组织细胞基于共振原理吸收物理能量。

2.如生理和治疗作用是以理论学变化为基础的神经体液调节途径实现的。电疗具有镇痛消肿消炎脱敏、缓解肌肉痉挛、加强组织张力、促进恢复正常的神经传导和调节功能等治疗作用。

3.异性作用:如直流电优先作用于末梢神经感受器周围神经纤维;一不定频率低频电优先作用于肌肉-神经结构;超短波优先作用于结缔组织、单核巨细胞系统。电疗的特异性作用在使用小剂量时最明显。

4.电疗的效果与其作用的组织器官有关,如微波作用于肾上腺区可增加皮质固醇激素的产生。作用于甲状腺区可降低糖皮质激素的活性,加强免疫功能

一、直流电及电流电离子导入

直流电疗法是使用低电压的平稳直流电通过人体的一定部位以治疗疾病的方法。使用直流电将药物离子通过皮肤、粘膜或伤口导入体内进行治疗的方法称直流电药物离子导入疗法。

(一)生理作用:直流电作用机体时,处于直流电场中的组织内可引起正负离子的定向移动及电极表面发生化学反应的电解,带电胶粒的电泳和水分子的电渗,因而引起组织兴奋性细胞膜结构与通透性,酸碱度和组织含水量的变化(见表3-1-1)。上述变化对神经系统的功能有明显影响,如调整中枢神经功能,改变周围神经的兴奋性,促进神经纤维再生和消除炎症等。并可引起电极下局部皮肤血管扩张血液循环增加。剂量过大可发生电极下直流电化学灼伤(酸碱、电解产物造成)。

表3-1-1 直流电的生理作用

组织兴奋性 膜通透性 酸碱度 组织含水量
阳极 兴奋性降低 降低 减少组织干燥
阴极 兴奋性增强 增加 增加组织松软

根据同性电荷相斥,异性电荷相吸原理,应用直流电将在溶液中能够解离子的药物或在溶液中能成为带电胶粒的药物经过完整无缺皮肤、粘膜或伤口导入体内,导入的离子只达皮内,主要堆积在表皮内形成“离子堆”,以后通过渗透作用逐渐进入淋巴血液,带到全身各器官和组织,失去原来的正负电荷而变成或分子,该处起化学反应。

直流电药物离子导入特点是:1.导入体内的是有治疗作用的药物成分;2.药物可直接导入较表浅的病灶内,该处的药物浓度比其他给药途径要高得多。由于药物在皮内形成“离子堆”,因此在体内蓄积时间长,疗效持久;3.直流电和药物的综合作用;4.神经反射作用:直流电和药物构成对神经末梢感受器的特殊刺激,通过感觉椫参锷窬诙畏瓷浠矶跋煜嘤诙蔚哪谠嗥鞴俸脱芄δ堋?/P>

(二)治疗作用:直流电疗法具有镇静、止痛、消炎、促进神经再生骨折愈合,调整神经系统和内脏功能,提高肌张力等作用。

直流电药物离子导入疗法除直流电作用外,取决于所用药物的药理特性,例如各种抗生素胰蛋白酶导入可治疗伤口、炎症、溃疡、瘘管,钙、溴、咖啡因可调整大脑皮层功能障碍、碘、透明质酸酶导入可消除炎症、疤痕和粘连,治疗脑炎脑血管意外康复期。

(三)适应症禁忌症

适应症:神经(根)炎,植物神经功能紊乱慢性溃疡,伤口,放射治疗反应,深浅静脉炎血栓性)等。

禁忌证:高热恶病质心力衰竭出血倾向者、直流电过敏等。

二、低频脉冲电疗法

低频脉冲电疗法是应用频率1,000Hz以下的脉冲电流治疗疾病的方法,其特点是:对感觉及运动神经有强的刺激作用。

(一)生理作用和治疗作用

1.兴奋神经肌肉组织 能兴奋神经肌肉组织是这种电流的重要特征。哺乳动物运动神经的绝对不应期多在1ms左右,因此频率在1,000Hz以下的低频脉冲电每个脉冲都有可能引起一次运动反应。

2.促进局部血液循环

3.镇痛

(二)常用的低频电疗法

1.感应电疗法 感应电流是用电磁感应原理产生的一种双相、不对称的低频脉冲电流,如图3-1-3,它的频率在60~80Hz之间。在现代新技术中,已能生产出单向尖波脉冲电流称新感应电,频率为50~100Hz,脉冲宽度为1ms,如图3-1-4。

感应电流的波形


图3-1-3 感应电流的波形

新感应电波形


图3-1-4 新感应电波形

这种脉冲参数能兴奋政党的运动神经与肌肉,引起横纹肌完全强直必收缩。当采用间断的感应电流时,即可引起节律性的强直收缩,促进肢体的静脉与淋巴回流,可加强肌肉活动,增加组织间的相对运动,可使轻度的粘连松散,病理产物吸收,常用于治疗癔病麻痹,防治废用性萎缩反射击性萎缩、软组织粘连、血循环障碍

2.间动电疗法 间动电流是将50Hz正弦交流电整流以后叠加在直流电上而构成的一种脉冲电流,常用的波形有6种(图3-1-5):(1)疏波(MF)频率50Hz的正弦波,间隔10ms,幅度恒定。(2)密波(DF)频率100Hz,周期10ms。(3)疏密波(CP)MF和DF交替出现,各持续1秒钟。(4)间断波(LP)又称慢交替疏密波,其中MF持续4秒,DF持续8秒,且密波中一组电压保持稳定,另组电压缓慢起伏。(5)断续波(RS)MF断续出现,通断各1秒。(6)起伏波(MM)MF断续出现,通断时间各4秒,且MF的出现和消失是缓慢的。间动电流的作用主要是(1)止痛:短时止痛和DF,较长时间止痛用CP或LP,(2)改善外周血循环:用阴极的DF作用于交感神经切,MF作用于局部,通过降低交感神经的兴奋性起作用,(3)促进渗出物吸收:CP,(4)锻炼骨骼肌:以RS及MM作用明显,常用于治疗较表浅的神经痛(如枕大神经痛三叉神经痛),颞颌关节功能紊乱,网球肘,狭窄性腱鞘炎,中心性视网膜炎等。

间动电流的波形


图3-1-5 间动电流的波形

3、功能性电刺激(FES)疗法功能性电刺激疗法是应用低频脉冲电流,按需编定程序,以一定强度输给人体,也可通过信号一电流转换放大后送入人体,刺激感觉和运动神经(含肌肉)使产生有效功能。目前以应用于神经肌肉系统的功能性电刺激为主要内容。由于下运动神经元的结构完整,电刺激信息中心传入中枢神经系统和适宜的无数重复的运动模式信息,刺激本体感受机制,有助于皮层中兴奋痕迹的建立,从而对瘫痪肢体的步态,姿势和改善运动的随意控制等方面产生持续性影响。所以,神经肌肉功能性刺激的持久效应是由于在脊髓节段脊髓以上水平多级神经元之间的联结网进行功能性组织与长期学习过程,对于皮层下兴奋与抑制机制,对大脑小脑控制运动机能均有一定的影响。

功能性电刺激(TENS)疗法 经皮神经电刺激疗法是通过皮肤将特定的低频脉冲电流输入人体以治疗疼痛的电疗方法,这是70年代兴起一种电疗法,在止痛方面收到较好效果,TENS主要是通过刺激感觉纤维而达到止痛作用,因此要求频率低限0.5~10~25Hz。高限90~120~500Hz,波形为单向方波,单向方波调制中频电,对称或不对称双向方波(见图3-1-6),波宽10~500微秒。最佳镇痛频率应通过病人在自行调节中摸索。其镇痛机制主要以“闸门”控制假说和内源性吗啡多肽理论来解释。主要用于治疗各种原因引起的急、慢性疼痛,包括头痛、各种神经痛、关节痛、术后疼痛、产痛、癌性痛等。带有心脏起搏器的病人禁用此疗法,特别是按需型起搏器更应注意,因为TENS的电流容易干拢起搏器的步调。

TENS疗法的几种波形


图3-1-6 TENS疗法的几种波形

(三)低频电疗法的禁忌证

急性化脓性炎症,出血性疾病,严重心脏病,高热等均不适做低频电疗。

三、中频电疗法

应用频率为1,000~100,000Hz的正弦电流治疗疾病的方法,称中频电疗法,目前临床上常用的有干扰电疗法调制中频电疗法和等幅正弦中频(音频)电疗法三种。

(一)作用特点

1.无电解作用,对皮肤刺激小。

2.降低组织电阻,增加作用深度。

3.对机体组织有兴奋作用,但需综合多个刺激的连续作用才能引起一次兴奋,这即所谓中频电刺激的综合效应。

4.低频调制的中频电流,兼有低、中频电流的特点(图3-1-7)。

等幅中频电流与由低频调制的中频电流


图3-1-7 等幅中频电流与由低频调制的中频电流

(二)生理及治疗作用

1.镇痛 中频电疗作用的局部,皮肤阈明显增高,临床上有良好的镇痛作用。其机制:(1)直接止痛:通过皮层干扰效应,掩盖效应或兴奋粗纤维,阻断冲动及引起内源性吗啡样多肽物质(如脑啡肽)释放而直接止痛;(2)间接止痛:通过改善血液循环,减轻组织间和神经纤维间水肿,减轻缺血所引起的肌肉痉挛、酸中毒、促进K+激肽ATP等致痛化学物质的排除而间接止痛。

2.促进血循环 中频电流,特别是50~100Hz的低频调制中频电流,有明显促进局部血液循环的作用,可使皮肤温度升高,小动脉毛细血管扩张,开放的毛细血管数目增多等。其作用机理:目前认为与电流刺激引起轴突反射和肌肉活动随后释放出ADP、ATP等代谢产物,引起某些血管活性介质(P物质和乙酰胆硷等)的释放及交感神经抑制的关。

3.兴奋骨骼肌 低频调制的中频电流与低频电流的作用相仿,能使骨骼肌收缩,且较低频电流更为优越:(1)对皮肤感觉神经末梢的刺激小,又无电解作用,有利于长期治疗;(2)人体对此电流耐受好,电流进入深度大,特别对深部病变效果好。

(三)常用的几种中频电疗法

1.等幅中频电疗法(音频) 应用频率为1,000~5000Hz的等幅正弦电流治疗疾病的方法称音频疗法,目前常用频率为2,000Hz。其主要治疗作用为软化疤痕和松解粘连,术后早期应用有预防疤良增生作用。因疤痕而引起的痒痛于治疗数次或数十次后可减轻或消失。肥厚增生的疤痕经数十次治疗可变软,变薄,缩小。因此临床上常用于各类疤痕,肠粘连声带小结等的治疗。

干扰场的形成


图3-1-8 干扰场的形成

2.干扰电疗法 干扰电疗法同时使用两组频率相差0~100Hz的中频正弦电流,交叉地输入人体,在交叉处形成干扰场(图3-1-8)在深部组织产生低频调制的脉冲中频电流,以治疗疾病的一种方法。该疗法特点,输入呈两组中频电流(一路频率固定4,000Hz另一路为4,000±交叉输入人体,在机体深部产生0~100Hz的差频电流(图3-1-9),因而电流的作用深度加大,而且“内生”低频调制中频电兼有低频和中频的优点,从而达到以中频电流通过皮肤高电阻,在人体深部获得低,中频电流效用。此外还可采用三组电流按照三度空间同时输入人体形成成立体干扰场,称立体干扰电疗法。也可以输入两组中频电流的幅度在一定范围内自动变化(动态),两组电流幅度变化以相反位(图3-1-10,也可相同,形成动态干扰场,称动态干扰电疗法,干扰电疗法其差频选择见(表3-1-2),常用于治疗各种软组织损伤肩周炎、关节痛、肌肉痛、神经痛、局部血循环障碍性疾病,废用性肌萎缩胃下垂,习惯性便秘及锻炼失神经肌肉等。

差频(Hz) 治疗作用
100 抑制交感神经,止痛
90~1000 止痛
50~100 止痛,促进局部血循环
50 促进局部血循环
25~50 引起正常肌肉强直收缩
20~40 兴奋迷走神经,扩张局部动脉
1~10 兴奋交感神经,使平滑肌收缩,使失神经肌肉收缩(1~2Hz)
0~10 作用广泛,并有上述多种作用

不同频率的两种正弦电流综合的结果


图3-1-9 不同频率的两种正弦电流综合的结果

两组电流幅度变化,输出电流的强弱自动变化,且变化方向相反


图3-1-10两组电流幅度变化,输出电流的强弱自动变化,且变化方向相反

3.调制中频电疗法 调制中频电流是一种低频调制的中频电流,其载波(中频)频率为2,000~5,000Hz波形有正弦与梯形波,调制(低频)频率为10~150Hz,调制波形有正弦波,方形波,指数曲线波。输出波形(图3-1-11)有(1)连续调制波(连调),调制波连续出现;(2)交替调制波(交调),调制波和未调制波交替出现;(3)间断调制波(断调),调制波间断出现;(4)变频调制波(变调),两种频率不同的调制波交替出现。上述四种波形均可以全波或整流半波的形式(正半波或负半波)出现(图3-1-12),调制中频电流特点:(1)这是用10~150Hz的低频电流调制的“外生”中频电流。兼有低频、中频两种电疗的特点;(2)不同波形和频率交替出现,可以克服机体对电流的适应性;(3)调制深度可以改变(0~100%)。用以改变刺激的强度;(4)断调波加入可调制电流时间,以使治疗失神经肌肉时,可让肌肉得到不同时间的休息。(5)选用半波调制电流可以做药物离子导入。不同波型的主要作用特点:(1)连调波,止痛和调整神经功能作用,适用于刺激植物神经节;(2)间调波,适用于刺激神经肌肉;(3)交调与变调波,有显著止痛,促进血液循环和炎症吸收的作用。该疗法与干扰电疗法适应证相同,还可治疗小腿淋巴淤滞输尿管结石,中心性视网膜炎及视神经炎等。

(四)中频电疗法的禁忌证

急性化脓性炎症,安装心脏起搏器的患者,治疗部位有较大金属异物,孕妇下腹等。

正弦调制中频电流的主要波形


图3-1-11 正弦调制中频电流的主要波形

正半波的交调波


图3-1-12 正半波的交调波

四、高频电疗法

医学上把频率超过100,000Hz的交流电称为高频电流。应用高频电流防治疾病的方法称高频电疗法。在临床上常用的高频电疗法有短波疗法超短波疗法微波疗法

(一)作用特点

1.对神经肌肉无兴奋作用。

2.产生热效应及非热效应。

3.治疗时电极可以离开皮肤。

(二)生物学效应

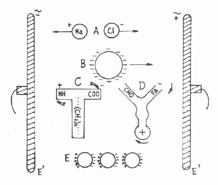
1.热效应 由于高频电流引起人体组织内微粒的运动,在组织内就可产生热效应,其产生原理如图3-1-13。

人体电荷在高频电作用下的变化模式图


图3-1-13 人体电荷在高频电作用下的变化模式图

E-电极 高频电的瞬间极性;A-简单离子;B-带电胶体

C-氨基酸偶极子; D-神经鞘磷脂型极性分子;CHO 碳氢链;

FA-脂肪酸;E排列成链的电荷;箭头各种电荷在该瞬间的运动方向

当高频电流通过人体中,机体中离子(A),带电胶体颗粒(B)在电场中产生快速沿电力线方向的来回移动或振动,以传导电流形势通过组织,机体中的电介质分子(C)(D)在高频电场中,无极分子产生电子位移极化,有极分子产生取向极化(图3-1-14),以电位移电流形式通过组织,随着频率的增高,传导电流所占的比重逐渐减少而位移电流所占比重逐渐增加。高频电流通过机体时,传导电流引起机体内的欧姆耗损,位移电流引起机体内的介质耗损,因而在各种组织中产生程度不同的热效应。(1)高频电流→导体部分→离子及带电胶体振动→传导电流(包括涡流)→欧姆耗损→热效应。(2)高频电流→电介质(包括电容)→偶极子取向及旋转→位移电流→介质耗损→热效应。

电介质原子无电场和有电场作用时的电荷分布


图3-1-14 电介质原子无电场和有电场作用时的电荷分布

黑园心-正电荷;园圈-负电荷; 虚线-原子范围;

E-电极;A-无电极场作用时;B-有电声作用时

2.非热效应当以上变化强度小到不足以产生体温升高的情况下,高频电流仍可使离子,带电胶体,偶极子发生振动和转动,亦有可能改变组织变化,生物物理学特性,即电磁场振荡效应。如由于共振吸收产生的选择性点状产热;乳脂,红血球带电颗粒沿电场力线分布排列成串珠状(E)现象,体内磁性物质受到不同程度的磁场改变等,由此产生的生物学效应称非热效应。

(三)几种常用高频电疗法。

1.短波疗法:应用波长为100~10米的高频交流电在体内产生磁场院或电场以此来达到治疗目的的方法,称短波电疗法。由于采用电缆线圈电极,治疗时主要利用高频交变电磁场通过导体组织时产生涡流(图3-1-15)而引起组织产热,故又称感应透热疗法。短波疗法产生涡电流属传导电流,重点作用于肌肉,肝及肾等电阻小的组织,对脂肪及骨组织作用小,后者可采用电容电极法,通过高速皮肤与电极距离达到作用部位。其主要治疗作用:(1)可使组织的小动脉及微血管扩张,改善血循环;(2)缓解胃肠平滑肌的痉挛具有止痛作用;(3)作用于肾上腺区时,有促进肾上腺皮质醣皮质激素分泌功能,提高儿茶酚胺类物质的分泌作用。用于治疗亚急性及慢性炎症,功能性和器质性血循环障碍,外伤血肿,内脏平滑骨痉挛等。

短波电缆作用园柱形导体时,其内产生的涡流


图3-1-15 短波电缆作用园柱形导体时,其内产生的涡流

2.超短疗法 应用波长10~1米的超高频交流电作用人体,以达到治疗目的的方法,常用电容电场治疗,亦称超高频电场疗法,主要生物学效应是热效应及非热效应,它的热效应与短波不完全相同,因在超高频电场作用下,以位移电流点优势,介质损耗产热为主,产热分布比较均匀,但由于脂肪组织血管少,热量不易为血流带走,易产生脂肪过热,在实际治疗时可调整皮肤与电极距离使深部组织温度升高,皮及皮下脂肪温度降低。超短波在用低强度作用,且用目前一切方法不能测出温度升高时,其生物学效应仍非常明显,而同样外源热作用则无类似效应。如:当应用短时间无热量超短波作用人体时,对急性炎症的消退比长时间温热作用时的效果更明显,此外还可引起其他组织器官的反应,统称为非热效应。非热效应在低强度作用时表现明显,高强度作用时这种特殊作用就被热效应所掩盖。

超短波对全身各个系统都有一定的作用,首先,是消炎作用,大量临床观察和实验研究证明超短波对炎症,特别是急性化脓性炎症有良好的作用。在治疗急性炎症时,小剂量有明显的消炎作用,大剂量有时反可使病情恶化,这与它能改善血液和淋巴循环,使病灶的pH向碱性移行,有脱水作用,使巨噬细胞白细胞的吞噬能力增强,凝集素补体增加等有关;第二,对肾脏有扩张肾血管,解除肾血管痉挛,使尿量增加,尿蛋白降低;第三,可降低血管张力,使小动脉毛细血管扩张,组织细胞营养改善;第四,可降低神经系统的兴奋性,应用小剂量的超短波,作用于颈交感神经节,可使高血压病人血压下降。第五,加强结缔组织再生,促进肉芽组织生长。因此临床上常用于(1)全身各系统、器官的一切炎症,对急性、亚急性效果更好,特别是对化脓性炎症疗效显著;(2)各种创伤,创口及溃疡;9(3)急性、亚急性肾炎急性肾功能衰竭引起的少尿无尿疗效显著;(4)血管运动神经及植物神经功能紊乱的疾病;症状高血压(Ⅰ、Ⅱ期),闭塞性脉管炎雷诺氏病等;(5)疼痛性疾病:神经痛,灼性神经痛肌痛等。

3.微波疗法 微波疗法是应用波长为1米~1毫米的特高频电磁波作用于人体以治疗疾病的方法,它与短波、超短波不同,是一种定向电磁波辐射疗法,根据波长不同可将微波分为分米波(波长100~10cm),厘米波(波长10~1cm),医用微波波长多为12.5cm(频率2,450Hz)。微波的波长介于长波红外线与超短波之间,因此某些物理性质类似光波,如呈波束状传播,具有弥漫性能,遇不同介质可引起反射、折射、绕射、吸收、聚集等;微波辐射人体时,一部分能量被吸收,另一部分能量则为皮肤及各层组织所反射,其中富于水分的组织较多地吸收微波能量,而脂肪及骨组织反射较多。因此微波的热效应应以富于水份的组织及界面多的器官(眼睛,盆腔)产热大。生殖系统睾丸对微波特别敏感,加之睾丸血循环差,散热慢,当局部温度高于35°C时精子产生受抑制,曲细精管萎缩局灶性坏死,因此在实际工作中要注意加强对眼睛及生殖系统的防护,对血循环和富于水分的组织应避免过量引起病情恶化。

微波具有镇痛、消炎、脱敏和改善组织和营养作用,常用于治疗肌肉,关节及关节周围非化脓性炎症和损伤,如肌炎、腱鞘炎、肌腱周围炎、滑囊炎、肩周炎及关节和肌肉劳损等微波效果显著。

4.射频疗法应用无线电波作用于人体产生高温以治疗疾病的方法称为射频疗法,又称高频加温治癌。高频,超高频及特高频(微波)电磁波都属于射频范围,但目前国内外多应用短波与微波波段,主要利用其产生的高温以治疗癌瘤。作用机理:由于癌瘤组织血管生长用短波与微波波段,主要利用其产生的高温以治疗癌瘤。作用机理:由于癌瘤组织血管生长畸形,血液仅为周围正常组织的2~15%。当射频电能为组织吸收转变为热能而使组织温度升高时,正常组织可通过有效血循环散热,而癌瘤组织因循环差,不能及时将热带走,故癌瘤内的温度升高,可比正常组织温度高5~10.4°C,且持续较长时间。故可利用适量射频电能作用癌瘤局部,使癌周围健康组织达42°C~43.5°C(正常组织热损伤阈为45°C)时,可使癌组织强度升至47~55°C,从而达到杀来癌细胞目的,而周围正常组织不致受到损伤。高温作用下癌组织的氧代谢降低,乳酸增加,pH降低;同时使癌细胞内的脱氧核糖核酸核糖核酸蛋白质合成受到抑制,此外癌细胞浆内的溶酶体活性增强,并有大量新的溶酶体产生,最后导致癌细胞溶解。另外射频电能使癌瘤周围正常组织的血循环和供氧量增加,有利于改善化疗药物的输送,高温能使一些抗癌的化学药物作用增强。同时,抗拒放射线的S期细胞DNA合成期细胞)对高温最敏感,易被杀灭,还能增强乏氧期细胞对放射线的敏感性。因此,射频高温疗法与放疗化疗并用能显著提高灭癌效果,同时还可养活放射线和化疗药物用量,减轻副作用。常用的仪器有(1)大功率短波治癌机,治疗深部或浅部癌瘤;(2)微波治癌机,只能治疗表浅部位的癌瘤;(3)分米波治癌机作用较微波深,对皮下组织损伤少,而加热效果则优于微波治疗机。

(四)高频电疗法禁忌证

凡有活动性肺结核,装起搏器及心瓣膜转换者,孕妇腹部、心力衰竭,有出血倾向者均不适宜做高频电疗。恶性肿瘤一般剂量为禁忌。

参看[编辑 | 编辑源代码]