颅内动脉瘤
颅内动脉瘤系指脑动脉壁的异常膨出部分,是引起自发性蛛网膜下腔出血的最常见原因。病因尚不甚清楚,但以先天性动脉瘤占大部分。任何年龄可发病,40-66岁常见。80%发生于脑底动脉环前半部。临床上以自发脑出血、脑血管痉孪、动眼神经麻痹等局灶症状为特点。动脉瘤的“破裂”常是产生严重症状甚至死亡的主要原因。由于诊断水平的大大提高、手术与其他治疗手段的进步,许多部位的动脉瘤都可取得良好的效果。
疾病名称[编辑 | 编辑源代码]
颅内动脉瘤
疾病概述[编辑 | 编辑源代码]
颅内动脉瘤多因脑动脉管壁局部的先天性缺陷和腔内压力增高的基础上引起。高血压、脑动脉硬化、血管炎与动脉瘤的发生与发展有关。脑动脉瘤多见于脑底动脉分叉之处。按其发病部位,4/5位于脑底动脉环前半,以颈内动脉、后交通动脉、前交通动脉者多见;脑底动脉环后半者约占1/5,发生于椎基底动脉、大脑后动脉及其分支。症状:动脉瘤破裂时,常有前驱症状如头痛,继之发生出血症状,表现为剧烈头痛、烦躁、恶心呕吐等脑膜刺激征,随之出现颅内压增高。可伴有意识障碍和相应部位的神经定位症状。动脉瘤出血形成较大血肿者,病情多急剧恶化,出现脑疝危象。据统计动脉瘤第一次破裂后,死亡率高达30~40%,其中半数在发病后48小时内死亡,存活的病例,1/3可发生再次出血。检查:脑血管造影是最确切的辅助诊断方法,应行全脑血管造影。CT扫描有时可以显示出动脉瘤病灶。MRI检查不仅可显示出动脉瘤,有时尚可见到附壁血栓。一旦诊断为脑动脉瘤,应采取手术治疗,以求根治,避免大出血危险。采用开颅直接处理动脉瘤的手术方法。尚可采用动脉内栓塞治疗。
疾病分类[编辑 | 编辑源代码]
疾病描述[编辑 | 编辑源代码]
颅内动脉瘤系颅内动脉壁的囊性膨出,是造成蛛网膜下腔出血的首位病因。在脑血管意外中,仅次于脑血栓和高血压脑出血,位居第三。本病好发于40一60岁中老年人,青少年少见。
症状体征[编辑 | 编辑源代码]
临床表现:
1.动脉瘤破裂出血症状 中、小型动脉瘤未破裂出血,临床可无任何症状。动脉瘤一旦破裂出血,临床表现为严重的蛛网膜下腔出血,发病急剧,病人剧烈头痛,形容如“头要炸开”。频繁呕吐,大汗淋漓,体温可升高;颈强直,克氏征阳性。也可能出现意识障碍,甚至昏迷。部分病人出血前有劳累,情绪激动等诱因,也有的无明显诱因或在睡眠中发病。约1/3的病人,动脉瘤破裂后因未及时诊治而死亡。多数动脉瘤破口会被凝血封闭而出血停止,病情逐渐稳定。随着动脉瘤破口周围血块溶解,动脉瘤可能再次破溃出血。二次出血多发生在第一次出血后2周内。部分病人出血可经视神经鞘侵入玻璃体引起视力障碍。蛛网膜下腔出血后,红细胞破坏产生5-羟色胺、儿茶酚胺等多种血管活性物质作用于脑血管,发生血管痉挛,发生率为21%一62%,多发生在出血后的3-15天。局部血管痉挛只发生在动脉瘤附近,病人症状不明显,只在脑血管造影上显示。广泛脑血管痉挛,会导致脑梗死发生,病人意识障碍、偏瘫,甚至死亡。
2.局灶症状 取决于动脉瘤的部位、毗邻解剖结构及动脉瘤大小。动眼神经麻痹常见于颈内动脉-后交通动脉瘤和大脑后动脉的动脉瘤,表现为单侧眼睑下垂、瞳孔散大,内收、上、下视不能,直、间接光反应消失。有时局灶症状出现在蛛网膜下腔出血之前,被视为动脉瘤出血的前兆症状,如轻微偏头痛、眼眶痛,继之出现动眼神经麻痹,此时应警惕随之而来的蛛网膜下腔出血。大脑中动脉的动脉瘤出血如形成血肿;或其他部位动脉瘤出血后,脑血管痉挛脑梗死,病人可出现偏瘫,运动性或感觉性失语。巨大动脉瘤影响到视路,病人可有视力视野障碍。 动脉瘤出血后,病情轻重不一。为便于判断病情,选择造影和手术时机,评价疗效。
国际常采用Hunt五级分类法:
一级 无症状,或有轻微头痛和颈强直。
二级 头痛较重,颈强直,除动跟神经等脑神经麻痹外,无其他神经症状。
三级 轻度意识障碍,躁动不安和轻度脑症状。
五级 深昏迷、去脑强直,濒危状态。
疾病病因[编辑 | 编辑源代码]
动脉瘤发病原因尚不十分清楚。动脉壁先天缺陷学说认为,颅内Willis环的动脉分叉处的动脉壁先天性子滑肌层缺乏。动脉壁后天性退变学说则认为,颅内动脉粥样硬化和高血压.使动脉内弹力板发生破坏,渐渐膨出形成囊性动脉瘤。此外,身体的感染病灶如细菌性心内膜炎、肺部感染等,感染性栓子脱落,侵蚀脑动脉壁而形成感染性动脉瘤;头部外伤也可导致动脉瘤形成。但临床均少见。
病理生理[编辑 | 编辑源代码]
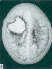
组织学检查发现动脉瘤壁仅存一层内膜,缺乏中层平滑肌组织,弹性纤维断裂或消失。瘤壁内有炎性细胞浸润。电镜下可见瘤壁弹力板消失。巨大动脉瘤内常有血栓形成,甚至钙化,直栓分层呈”洋葱”状。动脉瘤为囊性,呈球形或浆果状.外观紫红色,瘤壁极薄,术中可见瘤内的血流旋涡。瘤顶部更为薄弱,98%的动脉瘤出血位于瘤顶。破裂的动脉瘤周围被血肿包裹,瘤顶破口处与周围组织粘连。
依动脉瘤位置将其分为:
①颈内动脉系统动脉瘤,约占颅内动脉瘤的90%,包括颈内动脉-后交通动脉瘤,前动脉-前交通动脉瘤,中动脉动脉瘤;
②椎基底动脉系统动脉瘤,约占颅内动脉瘤的10%,包括椎动脉瘤、基底动脉瘤和大脑后动脉瘤。 动脉瘤直径小于0.5cm属于小型,直径在0.6-1,5cm为一般型,直径在1.6-2.5cm属大型,直径大于2.5cm的为巨大型。直径小的动脉瘤出血机会较多。颅内多发性动脉瘤约占20%,以两个者多见,亦有三个以上的动脉瘤。
诊断检查[编辑 | 编辑源代码]
1.确定有无蛛网膜下腔出血。出血急性期,CT确诊SAH阳性串极高,安全迅速可靠。出血一周后,CT叮不易诊断。腰椎穿刺可能诱发动脉瘤破裂出血,故一般不再作为确诊SAH的首选。
2.因颅内动脉瘤多位于颅底部WiLLis动脉环,直径小于1.0C的动脉瘤,CT不易查出。直径大于1.0cm,注射对比剂后,CT扫描可检出。MRI忧于CT,动脉瘤内可见流空。MRA可提示不同部位动脉瘤,常用于颅内动脉瘤筛选。三维CT(3D-CT)从不同角度了解动脉瘤与载瘤动脉的关系,为手术夹闭动脉瘤决策提供更多的资料。
3.脑血管造影是确诊颅内动脉瘤必须的检查方法,对判明动脉瘤的准确位置、形态、内径、数目、血管痉挛和确定手术方案都十分重要。DSA更为清晰。,经股动脉插管全脑血管造影,可避免遗漏多发动脉瘤。病情在三级以下,脑血管造影应及早进行,三级和三级以上病人可待病情稳定后,再行造影检查。及早造影明确诊断,尽快手术夹闭动脉瘤,可以防止动脉瘤再次破裂出血。首次造影阴性,可能因脑血管痉挛而动脉瘤未显影,高度怀疑动脉瘤者,应在3个月后重复造影。
如何鉴别[编辑 | 编辑源代码]
(1)以出血为首发征像时,临床怀疑动脉瘤而行血管成像(DSA、CTA、MRA)可证实动脉瘤的存在,一般无需鉴别,但应注意假阳性和假阴性的存在。假阳性如颈内动脉起始部、后交通动脉起始部漏斗样增粗如正常现象,血管转折处在MRA上易误为异常,两段狭窄间正常管腔易误为动脉瘤等。假阴性如动脉瘤破裂或痉挛导致造影时不能显示等。这方面CTA较DSA和MRA有明显优势,它可以对单枝血管进行曲面重建并旋转观察,有利于分析动脉壁的结构是否正常,有利于发现无造影剂充盈的瘤体等。
(2)无出血的动脉瘤,在平扫和强化扫描时需和高密度肿瘤和囊肿鉴别,如发现脑外高密度结节或肿块,应考虑到肿瘤、囊肿、结核瘤、血肿、动脉瘤等。MRI具有重要鉴别价值,动脉瘤瘤腔流空信号与其他肿瘤明显不同,而血栓T1高信号和含铁血黄素沉积也较具特征。
治疗方案[编辑 | 编辑源代码]
术前护理[编辑 | 编辑源代码]
(1)对神志清醒者讲解手术的必要性及手术中需要患者配合的事项,消除其恐惧心理,对有意识障碍者,术前做好家属的心理护理,使他们了解手术的目的和意义,了解术前准备的内容,以达到配合好手术的目的。
(2)保持患者绝对卧床,避免一切外来的刺激,防止因躁动不安而使血压升高,增加再出血的可能。随时观察生命体征及意识变化,及早发现出血情况。
(3)给予合理饮食,勿食用易导致便秘的食物,必要时给予缓泻剂,保持大便通畅。保持室内通风适宜,防止因着凉而引起患者用力打喷嚏或咳嗽,以免增加腹压及反射性的增加颅内压而引起颅内动脉瘤破裂。
(4)对于伴有癫痫者注意保证其安全,防止发作时受伤,保持呼吸道通畅,给予吸氧,并记录其抽搐时间,按医嘱给予抗癫痫药。
术后护理[编辑 | 编辑源代码]
(1)一般护理:抬高床头15~30°,以利静脉回流、减轻脑水肿、降低颅内压;术后绝对卧床2天,限制体力活动3~4周,以防弹簧栓子移位;给予下肢尤其是腓肠肌处环状按摩,以防止下肢深静脉血栓形成;保持呼吸道通畅,头偏向一侧,吸尽分泌物,定时翻身、拍背,以利痰液排出;给予高蛋白、高热量、高维生素、易消化饮食,保持大便通畅;做好口腔皮肤护理,按时翻身,按摩受压部位;留置导尿管者应保持其通畅,按时进行膀胱冲洗和尿道口消毒,防止并发症发生。
(2)病情观察:观察生命体征,尽量使血压维持在一个稳定水平;避免一切可以引起颅内压增高的因素,如情绪激动、精神紧张、剧烈运动、用力排便或咳嗽等;注意观察病人瞳孔的大小、对光反射情况,动态观察意识的变化,并做好记录。
(3)穿刺点的护理:本组穿刺点均为股动脉,术后穿刺部位加压包扎后予以沙袋压迫8h,严密观察穿刺肢足动脉搏动情况及下肢温度、颜色和末梢血运情况,观察穿刺局部有无渗血及血肿、瘀斑形成。
(4)癫痫的护理:减少刺激,防止癫痫发作,安装好床档,备好抢救用药,防止意外发生,尽量将癫痫发作时的损伤减少到最小。
(5)介入栓塞治疗并发症的预防及护理:术后予尼莫通2周,以防止TIA的发生,并注意观察血压的变化;注意观察肢体活动、感觉情况及神经功能缺失症状,以便发现弹簧栓子位置不当,如有异常立即报告医生,以便及时处理。
出院指导[编辑 | 编辑源代码]
教育患者保持情绪稳定,生活要有规律,避免剧烈运动及咳嗽,保持大小便通畅,防止血压变化。要定期接受随访,若有病情变化,立即到医院检查治疗。
疾病预防[编辑 | 编辑源代码]
控制血压,避免诱发因素。
用药安全[编辑 | 编辑源代码]
加强护理、注意营养,调整液体及电解质紊乱,防止呼吸道、泌尿道、皮肤,肢体、关节的强直等并发症。
术后饮食[编辑 | 编辑源代码]
一、麻醉清醒后6小时无吞咽障碍者,方可进少量流质饮食,以后逐渐改为软食。
二、术后24小时持续昏迷、吞咽功能障碍的病人,应鼻饲流质饮食,鼻饲时应注意:
1、少量多餐,每次量少于200毫升.间隔时间大于2小时,防止消化不良。
2、宜高热量,高蛋白,高营养,低盐饮食。避免由于钠离子在机体潴留可引起血压升高,进而导致颅内压升高。保证病人营养,有利于手术后组织的修复。
3、温度38~40℃,防止烫伤病人。
4、抬高床头15°~30°,进饮食后半小时内勿改变病人体位,防止食物反流。
5、防止胃管脱出,胃管脱出时注入食物可导致食物进入呼吸道引起窒息,应妥善固定不能自行拔出。
6、喂食前要证明鼻饲管确实在胃内。
7、术后早期胃肠功能未完全恢复时应尽量少进牛奶、糖类等产气食物,防止引起肠胀气。若抽出咖啡色液体时提示消化道内有出血,应暂禁饮食或灌注冰流质,止血后方可进食。
验方偏方[编辑 | 编辑源代码]
验方:脑瘤汤:夏枯草30g,海藻30g,石见穿30g,野菊花30g,生牡蛎30g,昆布15g,赤芍15g,桃仁9g,白芷9g;生南星9g,蜈蚣9g,留行子12g,蜂房12g,全蝎6g,天龙片15片。每日剂,煎2次分服。天龙片分3次随汤药分服。
疗效:上海中医学院单用本方治疗颅内肿瘤11例,总有效率为72,7%。
偏万:难姜散:老姜、雄黄各100g。先将老姜刷去泥沙(不洗),除去叉枝,用小刀挖一小洞,掏空中心,四壁仅留0.5cm厚,填装入雄黄粉,以挖出的姜渣封口,置陈瓦上用木炭火焙烤7~8小时,至呈金黄色,脆而不焦为度,离火放冷,研细,过80目筛,剩余姜渣一并焙干后研细,拌入粉内,即得。
治法:外用。取安庆膏药以微火烘干,均匀地撒上雄姜散,可按瘤块,痛点,穴位三结合原则选定贴敷部位,隔日换药一次。
疗效:安徽省人民医院采用本方治疗脑瘤、肝癌、淋巴癌,骨肉瘤等共777例,总有效率达64.8%,其中对脑瘤效果最好,有效率达70%。
| |||||||||||||||||||||||
