血管升压素

来自医学百科
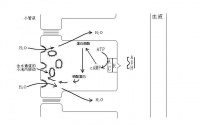
抗利尿激素的作用机制示意图

血管升压素

1.血管升压素的来源和作用

血管升压素(vasopressin,VP)又称抗利尿激素(antidiuretic hormone,ADH),是由9个氨基酸残基组成的小,由下丘脑视上核室旁核神经元合成,主要是提高远曲小管和集合管上皮细胞对水的通透性,从而增加水的重吸收,使尿液浓缩,尿量减少(抗利尿)。此外,抗利尿激素也能增加髓袢升支粗段对NaCl的主动重吸收和内髓部集合管对尿素的通透性,从而增加髓质组织间液的溶质浓度,提高髓质组织间液的渗透浓度,有利于尿液浓缩。

抗利尿激素与远曲小管和集合管上皮细胞管周膜上的V2受体结合后,通过G蛋白激活膜内的腺苷酸环化酶,使上皮细胞中cAMP的生成增加;cAMP激活上皮细胞中的蛋白激酶,激活的蛋白激酶使管腔膜的膜蛋白磷酸化而发生构型改变,促使管腔膜附近的含有水通道蛋白的小泡镶嵌在管腔膜上,增加管腔膜上的水通道,从而增加对水的通透性。当抗利尿激素缺乏时,管腔膜上的水通道担保可在细胞膜的衣被凹陷处集中,后者形成吞饮小泡进入胞浆,称为内移。此时,管腔膜进入细胞内,就可调节管腔膜对水的通透性。基侧膜则对水可自由通过,依次,水通过管腔膜进入细胞后可自由通过基侧膜进入毛细血管而被重吸收。人血管升压素第八位上为精氨酸,故称为精氨酸升压素。血管升压素可使全身微动脉毛细血管前括约肌收缩,升高血压。但在生理情况下,血中血管升压素浓度极低,对血管没有明显作用,只有在严重出血或大剂量使用时,血中血管升压素显著提高,才有缩血管作用。临床上常做微血管出血(如肺出血子宫出血等)时的止血药。

2.抗利尿激素的分泌调节

(1)血浆晶体渗透压的变化:下丘脑上核及其附近有渗透压感受器。血浆晶体渗透压的改变可明显影响抗利尿激素的分泌。大量发汗、严重呕吐腹泻等情况使机体失水时,血浆晶体渗透压升高,对渗透压感受器刺激增强,可引起抗利尿激素分泌增多,使肾对水的重吸收活动明显增强,对导致尿液浓缩和尿量减少。相反,大量饮清水后,尿液被稀释,尿量增加,使机体内多余的水排出体外。例如,正常人一次饮用1000ml清水后,约过半小时,尿量就开始增加,到第一小时末,尿量可达最高值;随后尿量减少,2~3小时后尿量恢复到原来水平。如果饮用的是等渗盐水(0.9%NaCl溶液),则排尿量不出现饮清水后那样的变化。这种大量饮用清水后引起尿量增多的现象,称为水利尿,临床上用来检测肾的稀释能力。

(2)循环血量的改变:血量过多时,左心房被扩张,刺激了容量感受器传入冲动迷走神经传入中枢,抑制了下丘脑 - 垂体后叶系统释放抗利尿激素,从而引起利尿,由于排出了过多的水分,正常血量因而得到恢复。血量减少时,发生相反的变化。严重失血时,抗利尿激素的合成和释放大量增加,抗利尿激素不仅能促进远曲小管和集合管重吸收大量水分,使丧失的血量得到部分补偿,同时还可使血管平滑肌收缩,血管床容量减少,外周阻力增加,因而使血压不致下降过多。此外,动脉血压升高,刺激颈动脉窦压力感受器,可反射性地抑制抗利尿激素的释放;心房肌合成、分泌的心房钠尿肽可抑制抗利尿激素分泌;血管紧张素Ⅱ、疼痛刺激和精神紧张则可刺激其分泌。